三菱S6R柴油發動機空氣冷卻器用水泵、恒溫器、水管的拆卸,檢修

三菱S6R柴油發動機空氣冷卻器用水泵、恒溫器、水管的拆卸,檢修
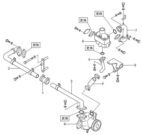
拆卸順序
1 管接頭
2 冷卻水管
3 冷卻水管
4 橡膠軟管
5 冷卻水管
6 空氣冷卻器用水泵
7 冷卻水管
8 恒溫器
9 座
2.2 三菱S6R柴油發動機恒溫器的解體,檢測

三菱S6R柴油發動機恒溫器的解體,檢測
解體順序
1 恒溫器端蓋
2 卡環
3 恒溫器
4 恒溫器密封
5 恒溫器殼體

三菱S6R柴油發動機恒溫器的解體,檢測
解體順序
1 恒溫器端蓋2 恒溫器 3 恒溫器殼體

三菱S6R柴油發動機恒溫器的解體,檢測 MTK、MPTA、MPTK規格
解體順序
1 恒溫器端蓋2 恒溫器3 恒溫器密封
2.3 三菱S6R柴油發動機缸套冷卻水用、空氣冷卻器用恒溫器的拆卸,檢修
2.3.1 檢查恒溫器的密封
(1) 檢查恒溫器的密封,發現老化或龜裂時更換新品。
(2) 密封的裝配方向如圖所示。
2.3.2 三菱S6R柴油發動機缸套冷卻水用、空氣冷卻器用恒溫器的動作檢查
(1) 將恒溫器放入裝滿水的容器內。
(2) 加熱水的同時用溫度表測量水溫, 測量閥開始打開和閥升高至標準值時的溫度。和標準值的溫度相差很大時,更換新品。
注:(a) 用棒攪拌,使容器內的水溫保持均勻。(b) 安裝恒溫器時,必須先確認恒溫器的閥側面的開閥溫度刻印。

|
零件編號 |
檢測項目 |
標準值 |
備注 | |
|
三菱S6R柴油發動機缸套冷卻水用 |
37546-21700 |
開閥溫度 |
69 ~ 73ºC |
開閥溫度刻印71ºC |
|
閥提升9 mm 以上的溫度 |
85ºC | |||
|
空氣冷卻器用 |
35C46-05200 |
開閥溫度 |
33 ~ 37ºC |
開閥溫度刻印35ºC |
|
閥提升10 mm 以上的溫度 |
50ºC | |||
|
37546-40700 |
開閥溫度 |
69 ~ 73ºC |
開閥溫度刻印71ºC | |
|
閥提升11 mm 以上的溫度 |
85ºC | |||
2.4 三菱S6R柴油發動機熱交換器的解體,檢修
MTKMPTAMPTK規格

三菱S6R柴油發動機熱交換器的解體,檢修
解體順序
1 端蓋
2 墊片
3 端蓋
4 O形圈
5 濾芯
6 墊片
7 鋅棒
8 鋅
9 膨脹水箱
2.4.1 三菱S6R柴油發動機熱交換器芯的清洗
(1) 用清水沖洗管外側,并用鋼絲刷等洗刷,同時檢查有無腐蝕或龜裂。
(2) 用棒插入管子內清除粘著物。

2.5 水泵的解體、檢修

三菱S6R柴油發動機水泵的解體、檢修
解體順序
1 卡環
2 端蓋
3 O形圈
4 葉輪
5 螺帽
6 水泵皮帶輪
7 隔圈,O形圈
8 油封
9 卡環
10 軸承瓦
11 水泵軸
12 組合式密封
13 軸承瓦
14 油封
15 泵體 ( 約15 kg)
2.5.1 三菱S6R柴油發動機水泵在安裝狀態時的檢測
目測檢查泵體中央下部的排水口。如果有水滲漏,說明組合式密封不良。如果有潤滑油滲漏,說明油封不良。

2.5.2 拆卸葉輪
(1) 用水泵拆卸器將固定泵蓋的卡環拆除,拆下泵蓋。

(2) 用葉輪拆卸器將葉輪拔出。

2.5.3 拆卸水泵軸
拆卸皮帶輪側軸承瓦的卡環,用壓力機或軟金屬錘輕擊,將水泵軸和軸承瓦一起取出。

2.6 檢測三菱S6R柴油發動機水泵
測量水泵泵體和軸的軸承瓦裝配部位、軸承瓦的外徑和內徑。不在標準值范圍內時,更換新品。

2.7 檢測三菱S6R柴油發動機水泵軸
從水泵軸上拆卸法蘭和葉輪時,會出現過盈量不足的情況。
過盈量低于標準值時,須更換新品。

2.8 水泵的組裝

三菱S6R柴油發動機水泵的組裝
2.8.1 安裝油封
(1) 用安裝器將油封壓入泵體,使油封和泵體的壓入端的端面平齊。
(2) 在油封的唇口涂抹潤滑油。

2.8.2三菱S6R柴油發動機 水泵各軸承瓦的安裝
將軸承瓦裝入水泵軸。安裝時,各軸承瓦的密封板側應朝向油封側。

2.8.3 組合式密封( 固定側) 的安裝
(1) 在組合式密封( 固定側) 的外周涂抹密封劑(ThreeBond 1102)。
(2) 用組合式密封安裝器將組合式密封壓入泵體。

2.8.4 三菱S6R柴油發動機水泵軸的安裝
(1) 將水泵軸小心的壓入泵體內,直至球軸承瓦的端面和泵體接觸。
(2) 將卡環確實裝入槽內。

2.8.5 三菱S6R柴油發動機水泵油封的安裝
(1) 用安裝器將油封壓入泵體,使油封和泵體的壓入端的端面平齊。
(2) 在油封的唇口涂抹潤滑油。

2.8.6 組合式密封( 轉動側)、葉輪的安裝
(1) 將組合式密封( 轉動側) 裝入葉輪。
(2) 在組合式密封( 轉動側) 上涂抹LLC。
(3) 用壓力器壓入水泵葉輪。壓入時,葉輪的輪箍端面要和水泵軸的端面平齊。

1. 三菱S6R柴油發動機進排氣系統的拆卸,檢測..........11-3
1.1 三菱S6R柴油發動機進氣系統的拆卸,檢測........ 11-3
1.2 三菱S6R柴油發動機排氣系統的拆卸,檢測........ 11-8
2. 三菱S6R柴油發動機進排氣系統的解體,檢修,組裝... 11-11
2.1 三菱S6R柴油發動機空氣冷卻器的解體,檢修,組裝............ 11-11
2.2 三菱S6R柴油發動機清洗空氣濾網.. 11-16
3. 進排氣系統的安裝..11-17
3.1 排氣管、排氣歧管的安裝..... 11-17
3.2 安裝空氣冷卻器 11-17