約翰迪爾強鹿柴油發動機活塞環槽磨損的檢查
檢查磨損情況時,帶 15° 梯形環的活塞使用 JDE62 活塞環槽磨損量具,帶 6° 梯形環的活塞使用 JDG957 活塞環槽磨損量具。
1. 使用合適的活塞環槽磨損量具 (C) 檢查梯形環槽(上槽)的磨損程度。在活塞四周多個測量點檢查環槽。量規肩部不能與活塞環口接觸。量規肩部與活塞環口有間隙 (D) 表明活塞環槽狀態良好。如果活塞環槽磨損,應成套更換活塞和汽缸套。如果活塞環槽完好,應繼續執行下面的步驟。
A – 梯形活塞環槽完好的活塞
B – 梯形活塞環槽磨損的活塞
C – 活塞環槽磨損量規
D – 間隙(正常)
E – 無間隙(更換)

2. 使用新活塞環和塞尺檢查第二個(壓縮)環槽。在不同的點測量間隙。將測量值與技術規格進行比較。
3. 使用新活塞環和塞尺檢查第三個(控油環)環槽。在不同的點測量間隙。將測量值與技術規格進行比較。
技術規格
活塞環到環槽間隙-新活塞環
(第二壓縮環槽)-最大間隙 0.20 毫米(0.008 英寸)
活塞環到環槽間隙-新活塞環(第三控油環槽,標準環)-最大間隙 0.82 毫米(0.032 英寸)
活塞環到環槽間隙-新活塞環(第三控油環槽,重型環)-最大間隙 0.15 毫米(0.006 英寸)
4. 如果間隙超過技術規格要求,更換活塞和汽缸套(成套)。

測量活塞銷孔
測量活塞銷孔如果活塞銷孔不符合技術規格要求,應成套更換活塞和汽缸套。
技術規格
活塞銷孔(小銷)-內徑34.935 - 34.945 毫米(1.3754 - 1.3758 英寸)
活塞銷孔(大銷)-內徑41.285 - 41.295 毫米(1.6254 - 1.6258 英寸)

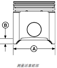
測量活塞裙部
1. 在與活塞銷孔成 90°,距活塞底部 (B) 28 毫米(1.1英寸)處測量活塞裙部 (A)。記錄測量結果。
技術規格
活塞裙部(自活塞底部至活塞裙底部 28 毫米 [1.1 英寸] 處測量)-直徑 106.38 - 106.40 毫米(4.188 - 4.189 英寸)
2. 參照本章后面的說明測量汽缸套,并與活塞的測量數據進行比較。

測量活塞高度
自活塞銷孔中心到活塞銷頂部測量活塞高度。
活塞(雙氣門汽缸蓋John Deere約翰迪爾強鹿柴油發動機)-技術規格
活塞-高度(測量從活塞銷孔中心到活塞銷頂部的距離). . . . . . . 71.64 - 71.70 毫米(2.820 - 2.823 英寸)
活塞(四氣門汽缸蓋John Deere約翰迪爾強鹿柴油發動機)-技術規格
活塞-高度(測量從活塞銷孔中心到活塞銷頂部的距離). . . . . . . 71.60 - 71.65 毫米(2.819 - 2.820 英寸)
確定John Deere約翰迪爾強鹿柴油發動機活塞與汽缸套的間隙
1. 在與活塞銷孔中心線成直角、距活塞底部 (B) 28 毫米(1.1 英寸)處測量活塞裙部外徑 (A)。
2. 記錄測量結果,并與匹配的汽缸套測量值進行比較。
技術規格
活塞裙部-距活塞底部 28 毫米(1.1 英寸)處外徑 . . . . . 106.38 - 106.40 毫米(4.188 - 4.189 英寸)
A – 裙部外徑
B – 活塞底部尺寸

重要提示: 必須在室溫下測量汽缸套尺寸。
3. 在活塞環行程頂端與活塞銷平行的位置測量汽缸套孔徑 (A) 。
4. 在活塞環行程下端的同樣位置測量汽缸套孔徑 (B)。
5. 在活塞環行程上端與活塞銷成直角的位置測量汽缸套孔徑 (C)。
6. 在活塞環行程下端同樣位置測量汽缸套孔徑 (D)。
7. 比較 A、B、C、D 四個測量結果,確定汽缸套是否成錐孔或者不圓。
8. 將汽缸套內徑與相匹配的活塞外徑進行比較。如果超出技術規格給定的磨損極限,則應成套更換活塞和汽缸套。
技術規格
汽缸套-內徑 106.48 - 106.52 毫米(4.192 - 4.194 英寸)
汽缸套(頂部或底部)-最大不圓度 . . . 0.05 毫米(0.002 英寸)
汽缸套-最大錐度 . . . 0.05 毫米(0.002 英寸)
活塞到汽缸套間隙(在活塞裙底部測量)(自然吸氣式John Deere約翰迪爾強鹿柴油發動機)-間隙 . 0.08 - 0.14 毫米(0.003 - 0.005 英寸)
活塞到汽缸套間隙
(在活塞裙底部測量)
(渦輪增壓式John Deere約翰迪爾強鹿柴油發動機)-間隙 . 0.08 - 0.15 毫米(0.003 - 0.006 英寸)
