卡特CAT 窗體底端
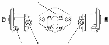
C15和C18發動機燃油輸油泵

(1)溢流孔
(2)壓力調節閥
(3)進口
(4)出口
|
表1 | |||
|
316-6864輸油泵總成、316-6863輸油泵總成、295-9260輸油泵總成、295-9261輸油泵總成、272-5930輸油泵總成、316-6865輸油泵總成和290-8866輸油泵和注油泵總成的技術規格 | |||
|
項目 |
數量 |
零件 |
技術規格說明 |
|
- |
- |
- |
當燃油輸油泵使用柴油時,燃油輸油泵具有以下技術規格: |
|
使泵在2940rpm轉速下運轉。整個旁通壓力應為 | |||
|
使泵在840rpm轉速下運轉。在 | |||
|
使泵在2940rpm轉速下運轉。在 | |||
|
使泵在120rpm轉速下運轉。保持進口對空氣打開10秒鐘。封閉進口。泵必須能保持 | |||
|
使泵在840rpm轉速下運轉。保持進口對空氣打開10秒鐘。封閉進口。泵必須能保持 | |||
|
封閉進口讓泵在120rpm轉速下運轉30秒鐘。泵的進口必須具備最小為 | |||
威爾信發電機維修保養哪家好,大宇發電機維修保養哪家好,日本三菱發電機維修保養哪家好,奔馳MTU發電機維修保養哪家好,卡特彼勒CAT發電機維修保養哪家好