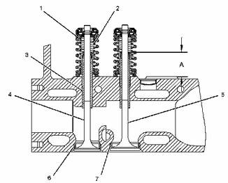
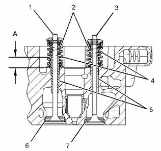
C15和C18發動機缸蓋氣門

223-9250缸蓋總成的技術規格項目數量零件技術規格說明124247-9908彈簧在測試力下的長度為
67.12mm(2.643in)。
測試力為
320±25N(72±6lb)。
測試后的自由長度約為
76.70mm(3.020in)。224211-3122彈簧在測試力下的長度為
60.14mm(2.368in)。
測試力為
150±12N(34±3lb)。
測試后的自由長度約為
71.70mm(2.823in)。A--從缸蓋頂部至氣門導管頂部的高度為
35.0±0.5mm(1.38±0.02in)。324122-7375氣門導管裝配前,將清潔的發動機機油涂覆到孔中。
缸蓋中用于安裝氣門導管的孔徑為
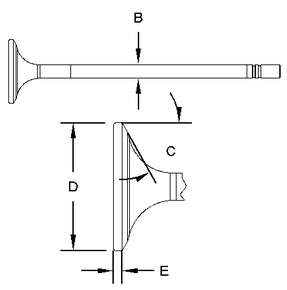
15.97mm(0.629in)。412153-7024排氣門在安裝到缸蓋中之前,在氣門桿上涂覆清潔的發動機機油。
端面角度為45.75±0.25度。
氣門桿直徑為
9.441±0.010mm(0.3717±0.0004in)。
氣門頭直徑為
41.81±0.13mm(1.646±0.005in)。512153-7023進氣門在安裝到缸蓋中之前,在氣門桿上涂覆清潔的發動機機油。
端面角度為60.75±0.25度。
氣門桿直徑為
9.441±0.010mm(0.3717±0.0004in)。
氣門頭直徑為
47.00±0.13mm(1.850±0.005in)。612226-5561氣門座鑲圈氣門座端面角度為45.25±0.25度。
外徑為
42.840±0.013mm(1.6866±0.0005in)。
缸蓋中用于安裝氣門座鑲圈的孔徑為
42.774±0.025mm(1.6840±0.0010in)。
缸蓋中用于安裝氣門座鑲圈的孔深度為
13.90±0.05mm(0.547±0.002in)。712224-3983氣門座鑲圈氣門座端面角度為30.25±0.25度。
外徑為
48.025±0.013mm(1.8907±0.0005in)。
缸蓋中用于安裝氣門座鑲圈的孔徑為
47.950±0.025mm(1.8878±0.0010in)。
缸蓋中用于安裝氣門座鑲圈的孔深度為
14.00±0.05mm(0.551±0.002in)。

432-5470缸蓋總成的技術規格項目數量零件技術規格說明124247-9908彈簧在測試力下的長度為
67.12mm(2.643in)。
測試力為
320±25N(72±6lb)。
測試后的自由長度約為
76.70mm(3.020in)。224211-3122彈簧在測試力下的長度為
60.14mm(2.368in)。
測試力為
150±12N(34±3lb)。
測試后的自由長度約為
71.70mm(2.823in)。A--從缸蓋頂部至氣門導管頂部的高度為
35.0±0.5mm(1.38±0.02in)。324122-7375氣門導管裝配前,將清潔的發動機機油涂覆到孔中。
氣門導管中用于安裝氣門的孔徑為
9.502±0.013mm(0.3741±0.0005in)。412289-9231排氣門在安裝到缸蓋中之前,在氣門桿上涂覆清潔的發動機機油。
端面角度為45.75±0.25度。
氣門桿直徑為
9.441±0.010mm(0.3717±0.0004in)。
氣門頭直徑為
41.81±0.13mm(1.646±0.005in)。512236-5605進氣門在安裝到缸蓋中之前,在氣門桿上涂覆清潔的發動機機油。
端面角度為60.75±0.25度。
氣門桿直徑為
9.441±0.010mm(0.3717±0.0004in)。
氣門頭直徑為
47.00±0.13mm(1.850±0.005in)。612226-5561氣門座鑲圈端面角度為45.25±0.25度。
外徑為
42.840±0.013mm(1.6866±0.0005in)。
缸蓋中用于安裝氣門座鑲圈的孔徑為
42.774±0.025mm(1.6840±0.0010in)。
缸蓋中用于安裝氣門座鑲圈的孔深度為
13.90±0.05mm(0.547±0.002in)。712280-3979氣門座鑲圈端面角度為30.25±0.25度。
外徑為
48.025±0.013mm(1.8907±0.0005in)。
缸蓋中用于安裝氣門座鑲圈的孔徑為
47.950±0.025mm(1.8878±0.0010in)。
缸蓋中用于安裝氣門座鑲圈的孔深度為
14.00±0.05mm(0.551±0.002in)。

注:將氣門安裝到缸蓋中前,先用清潔的發動機機油潤滑進氣門桿和排氣門桿。
(A)至氣門導管中的臺階的高度...20.0±0.5mm(0.79±0.02in)

上海發電機組維修保養,長沙帕金斯柴油發電機保養,維修康明斯鐵路發電車,康明斯發動機大修