帕金斯2806發動機氣門導管技術參數

Valve guides
Bore of valve guide when installed ... ... ... ... ... ... ... ... ... ... ... ... ... 9,487 +/- 0,025 mm (0.75 +/- 0.00 in)
Maximum permissible dimension... ... ... ... ... ... ... ... ... ... ... ... ... ... ... ... ... ... ... ... ... ..9,58 mm (0.755 in)
Do not use a combination of a valve and valve guide which have a difference of 0, mm (0.005 in) or more.
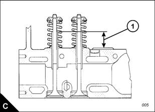
Height from cylinder head to top of valve guide (C). ... ... ... ... ... ... ... 5,00 +/- 0,50 mm (.78 +/- 0.020 in)
Valve springs
Inner
Assembled length .. ... ... ... ... ... ... ... ... ... ... ... ... ... ... ... ... ... ... ... ... ... ... ... ... ... ... ... 60,4 mm (2.68 in)
Load at ass embled length.. ... ... ... ... ... ... ... ... ... ... ... ... ... ... ... ... ... ... ... ... ... ... ..8 +/- 2 N (27 +/- lb)
Minimum operating length.. ... ... ... ... ... ... ... ... ... ... ... ... ... ... ... ... ... ... ... ... ... ... ... ... 44,02 mm (.7 in)
Load at minimum operating length. ... ... ... ... ... ... ... ... ... ... ... ... ... ... ... ... ... ... ... ..56 +/- 8 N (80 +/- 4 lb)
Free length after test .. ... ... ... ... ... ... ... ... ... ... ... ... ... ... ... ... ... ... ... ... ... ... ... ... ... ... 7,0 mm (2.797 in)
Outside diameter ... ... ... ... ... ... ... ... ... ... ... ... ... ... ... ... ... ... ... ... ... ... ... ... ... ... ... ... 25,20 mm (0.992 in)
Outer
Assembled length .. ... ... ... ... ... ... ... ... ... ... ... ... ... ... ... ... ... ... ... ... ... ... ... ... ... ... ... 67,2 mm (2.64 in)
Load at ass embled length.. ... ... ... ... ... ... ... ... ... ... ... ... ... ... ... ... ... ... ... ... ... ... ..248 +/- 25 N (56 +/- 6 lb)
Minimum operating length.. ... ... ... ... ... ... ... ... ... ... ... ... ... ... ... ... ... ... ... ... ... ... ... ... 5,00 mm (2.008 in)
Load at minimum operating length. ... ... ... ... ... ... ... ... ... ... ... ... ... ... ... ... ... ... ... 756 +/- 5 N (65 +/- 8 lb)
Free length after test .. ... ... ... ... ... ... ... ... ... ... ... ... ... ... ... ... ... ... ... ... ... ... ... ... ... ... 77,88 mm (.066 in)
Outside diameter ... ... ... ... ... ... ... ... ... ... ... ... ... ... ... ... ... ... ... ... ... ... ... ... ... ... ... ... 6,0 mm (.429 in)