Perkins2806發動機噴油器電子噴射裝置調整技術資料


Electronic injector units
To remove and to fit
Special requirements
Operation -2
To remove
Brush
Warning! The electrical circuit for the fuel injector units operates on 0 volts. Do NOT work on the fuel injector
units unless the power supply to the ECM has been disconnected.
Remove the relevant rocker shaft assembly, Operation -2.
2 Loosen the two nuts and remove the electrical connector from the injector unit.
Mark the valve bridge pieces to assist during assembly, then remove them.
4 Remove the bolt (A2) from the spacer and clamp which retain the injector unit and use the special tool,
GE5002, to release the injector unit from the cylinder head.
Caution: If more than one injector unit is to be removed, make a note of the trim code (A), a four-digit number
adjacent to the bar code, and also the cylinder to which the unit is fitted.
5 Remove the injector unit, together with the spacer and clamp.
6 Use the vacuum pump, GE50028, together with the tube, GE5000, and bottle, GE50029, to ex tract any
fuel which has spilled into the combustion chamber during removal of the injector.


![]()
To fit
Clean thoroughly the bore of the injector sleeve and cylinder head. Use the special brushes (GE50022,
GE5002 and GE50024) to remove carbon or dirt.
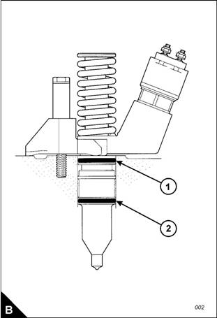
2 Check the condition of the ‘O’ ring seals (B and B2); renew the seals if they are worn or damaged. Lubricate
the ‘O’ ring seals with clean engine oil before the injector unit is installed in the cylinder head.
Caution: Injector units MUST be fitted to their original positions or the information in the ECM will need to be
updated.
Fit the injector unit to the cylinder head. Fit the clamp, spacer and retaining bolt. Tighten the bolt (A2) to a
torque of 47 +/- 9 Nm (5 +/- 7 lbf ft).
4 Fit the bridge pieces.
5 Attach the electrical connector to the injector unit and retain with the two nuts. Tighten the nuts to a torque
of 2,5 Nm (22 lbf in).
6 Fit the rocker shaft assembly, Operation -2.
2800
To check and to adjust
Special requirements
Operation -
|
Special tools | |
|
Description |
Part number |
|
Injector height gauge |
CH49 |
This operation should be performed at the same time as the operation to check the valve tappet c learances.
Warning! The electrical circuit for the fuel injector units operates on 0 volts. Do NOT work on the fuel injector
units unless the power supply to the ECM has been disconnected.
With the rocker covers removed, set the number piston to TDC (top dead centre) on its compression
stroke. Check/adjust the height dimensions for the fuel injectors of cylinders , 5 and 6.
2 Use the fuel injector setting gauge, CH49, to obtain the correct height for the fuel injector. The dimension
to be measured is from the top of the unit injector (A) to the machined ledge on the fuel injector body (A2).
This dimension should be 78,0 +/- 0,2 mm (.07 +/- 0.0 in). Slacken the lock nut and use the adjus tment screw
of the rocker lever to obtain the correct dimension. Tighten the lock nut to a torque of 55 +/- 0 Nm (4 +/-
7 lbf ft).
Remove the timing bolt from the flywheel housing and rotate the flywheel by 60 degrees in the normal
direction of engine rotation until the timing bolt can be inserted into the threaded hole. This will put the number
piston at TDC in its exhaust stroke.
4 Check/adjust the height dimensions for the fuel injectors of cylinders , 2 and 4 as given in step 2.
When all adjustments have been made, remove the timing bolt, fit the cover to the flywheel housing, fit the plug
to the timing bolt position and fit the rock er covers.

帕金斯柴濾,帕金斯2645a747噴油器,包頭珀金斯配件那有,珀金斯配件那有,帕金斯增壓器多少錢,帕金斯發動機四缸的機濾,帕金斯分配泵,沃爾沃940配件,tad1232ge水泵,tad1232ge水泵價位,沃爾沃柴油發電機皮帶型號,沃爾沃柴油機四配套多少錢,twd 1240 ve 水泵,沃爾沃1241起動機價格,沃爾沃柴油機大修理包哪有賣