柴油發動機排氣溫度過高過低故障原因與分析排除
柴油發動機運行時,出現排氣溫度過高現象。柴油機工作時,燃料燃燒所產生的熱量,只有約三分之一能夠變成有用的功,而大部分熱量不能被充分利用,這其中有一部分將傳至柴油機機件,致使機件溫度升高,而另一部分熱量隨排氣管排出機外。如果排氣溫度過高,燃料產生的熱量不能被充分利用,浪費資源。因此需要分析柴油機排氣溫度過高過低的原因,并找出其最終解決辦法。從冷卻水溫度、進氣吸氣量及增壓器、進排氣門和氣門間隙、噴油提前角等幾方面分析了對主柴油機排氣溫度過高產生影響的幾種原因,并給出了相應的解決辦法。
柴油發動機排氣溫度過高過低故障原因分析
排氣溫度是了解燃燒情況的重要指標,排氣溫度過高直接導致柴油機熱負荷增加,不僅使熱應力增大,材料的機械性能下降,而且高溫破壞了柴油機的潤滑條件,致使柴油機磨損加劇,甚至還會使燃燒室周圍零件損壞(如排氣閥),最終可能會影響柴油機的平穩運轉,縮短維護周期以及工作壽命。排氣溫度主要受到進氣質量,燃油的質量,霧化的質量,柴油機的運轉工況等的影響。正常情況下的每臺柴油機排溫在相同負荷時差別應不大,且有個極限值(一般的柴油發動機排氣溫度報警值為500℃左右),
柴油機的排氣溫度為其運行的一個重要的參數,排氣溫度各缸普遍偏高或單缸排氣溫度偏高的原因較多,其主要原因有如下幾項:
1、排氣溫度升高的原因
(1)排氣閥泄漏:排氣閥泄漏將造成壓縮壓力降低,由于空氣供量減少致發火延遲長而產生后燃,并且在燃燒過程中產生漏氣,使燃燒不完全的燃氣進入排氣管;
(2)噴油定時:噴油提前角太小而使噴油太遲,其噴入氣缸的燃油來不及完全燃燒而產生后燃;
(3)排氣定時:排氣閥提前打開,氣缸內還沒有完金燃燒的燃氣進入排氣管產生后燃;
(4)噴油器霧化:噴油器霧化不好,使燃油在氣缸內不能充分燃燒而產生在排氣管中后燃;
(5)噴油器安裝:噴油器在安裝過程中墊片處置不當,墊片過厚,甚至原墊片沒取出又加入新墊片造成過厚,使噴油器噴油位置不對;
(6)壓縮壓力:(i)由于氣缸蓋與氣缸套之間的墊片過厚,造成氣缸間隙容積增大而壓縮壓力降低,使發火延時產生后燃;(ii)壓縮環磨損造成壓縮壓力降低,由于氣缸內新鮮空氣不足使發火延遲而使燃氣后燃。
(7)增壓機:增壓機的軸承損壞,使其轉速降低,過給氣或掃氣壓力也同時降低;增壓機空氣濾網臟堵、壓縮機葉輪、噴嘴環、廢氣葉輪以及壓縮機葉輪積碳或臟堵,這些都會使增壓機空氣壓力不足而使燃油不能充分燃燒;
(8)噴油閥故障可能造成二次噴射而產生后燃,使排溫升高,或者表現為由于單缸功率下降,導致其它缸負荷增加;
(9)空氣冷卻器:(i)空氣冷卻器冷卻水管側積垢堵塞,使其熱交換效果降低而使增壓空氣進機溫度升高,使柴油機循環溫度升高而最終導致排溫升高;(ii)空氣冷卻器氣側堵塞使增壓空氣壓力低,進入氣缸的空氣量不足,使燃油不能充分燃燒而產生后燃使排溫升高。經驗顯示增壓機和空氣冷卻器是影響柴油機排溫升高的兩項最重要因素,特別是強化高增壓四沖程中速柴油機,對過給及掃氣壓力要求高,如果空氣冷卻器出現堵塞,輕則柴油發動機排溫升高,重則柴油發動機在未加負荷時就已無法使用,導致機器停止。
氣缸排氣溫度過高:各缸排氣溫度均增高時
(1)機器過負荷運轉。
(2)噴油定時過遲、噴射不良使霧化不佳。
(3)噴油量過多,由于燃油泵齒桿膠著于最大量噴油位置。
(4)噴射至氣缸內的燃油量過量。
(5)增壓機排氣側及空氣側污染效率不佳,使供給掃氣空氣不足。
(6)排氣背壓過高。
(7)冷卻水冷卻效果差使空氣冷卻器污染或部份阻塞,使掃氣溫度升高。
(8)排氣閥漏或壓縮壓力不足。
(9)燃油質量不佳且凈油程度不夠或加熱不足造成燃燒延遲,后燃長。
(10)船體表面污臟造成機器阻力過大,負荷高。
(11)噴射系統故障,燃油閥漏或作動不良,噴油泵磨耗或吸入/出口閥等損壞。
柴油發動機進氣質量
氣缸的進氣質量差,進入氣缸的空氣量不足,燃油燃燒時就沒有足夠的氧氣與之化合,燃油不能完全燃燒便會造成排氣溫度過高。而進氣質量變差的主要指標有兩個,一是進氣壓力低,其主要原因有以下幾點:
①增壓器淤堵(包括濾網堵塞、壓氣機端或透平端積污),
②柴油機所在場所大氣負壓,
③機械方面的原因(活塞環泄漏、進排氣閥泄漏或間隙不當或增壓器故障)。
對于增壓柴油機來說:空氣進入柴油機之前要在壓氣機中被壓縮,隨著空氣壓力的上升,其溫度也會升高,一般情況下增壓器壓氣機出口溫度高達180℃,而進入空冷器冷卻后的溫度僅為55℃左右,這就對空冷器的冷卻效率和阻力系數要求較高,隨著運行時間的增加,空冷器容易出現污染問題,即空氣側積灰,水冷側結水垢,這些均會導致進氣溫度升高從而使排氣溫度也升高。如果是進氣質量導致的排溫過高,則可以通過檢查機旁的通風情況,進氣溫度,進氣壓力,以及透平前后的壓差來判斷。
柴油發動機霧化質量
霧化質量不好會使燃油顆粒不夠細,導致燃油不能與空氣混合均勻,從而造成噴入氣缸的燃油無法完全燃燒或滯燃致使排氣溫度升高,其主要受燃油噴射系統的影響(燃油質量也會影響霧化),高壓油泵齒條臟污、油尺卡死在最大位置或超出最大位置使氣缸處于多供油位置。噴油器使用一段時間后,噴油壓力下降,噴油嘴針閥密封環帶密封不良,針閥與噴嘴體的配合間隙太大,噴孔堵塞、針閥不能落座卡死在開啟位置等都會使霧化質量變差。霧化質量的檢查首先可以通過觀察排氣煙色來判斷,正常情況下排氣煙色應該為淺灰色或者接近無色透明,霧化質量不良時容易在排煙管內發生二次燃燒而導致排溫過高,排氣會冒黑煙,其次可以通過對噴油設備的拆檢來判斷。
柴油發動機運轉工況
柴油機如果超負荷運轉,則會造成過大的扭矩,致使排氣溫度過高,再者如果柴油機運動部件有阻力(如拉缸)也是導致排溫過高故障發生的原因。
柴油燃油質量
燃油的好壞程度是由其特性指標決定的,當燃油的特性(如進機粘度和溫度)不能滿足柴油機的要求時,會發生燃燒惡化致使柴油機排氣溫度過高,柴油機燃油進機粘度一般要求在10-15cST(運動粘度)。
柴油發動機排氣溫度過高過低故障的查找
通過以上對排溫過高的原因分析,首先想到去檢查一下排氣的煙色,發現冒黑煙的情況并不嚴重。隨后又檢查了透平壓差、空冷器的溫度(冷卻水溫和空氣溫度)、燃油溫度等參數,除了增壓壓力略低以外其余均在正常范圍之內,對能導致排溫過高的原因進行逐一的排查。
測量爆壓
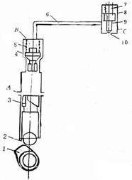
柴油機的最大爆發壓力和排氣溫度都是了解燃燒情況的重要指標,兩者互有關聯,爆壓可以作為確認排氣溫度過高故障原因的參考,爆壓的測量步驟如下
①如(圖2)所示安裝爆壓表A前,用示功閥專用扳手打開示功閥B,然后,輕松開啟1-2次后關閉示功閥(目的是為了吹掉內部污物以免造成爆壓表損壞)
②將爆壓表安裝到示功閥接頭C部位,并擰緊鎖緊螺帽D將爆壓表固緊在示功閥上
③關閉爆壓表上的排氣閥E,打開示功閥,記下爆壓表上的壓力讀數如表2所示,爆壓比正常略有偏高。
表2 爆壓表上的壓力讀數
|
缸數 |
1 # |
2 # |
3 # |
4 # |
5 # |
|
爆壓(bar) |
8.6 |
8.4 |
8.4 |
8.4 |
8.3 |

圖2測量爆壓示意圖
柴油發動機運動部件的檢查
盤車,發現運動部件并無卡阻等異常情況,而電機也沒超負荷的情況,檢查氣閥間隙發現氣閥上下啟閉靈活無卡死現象,頂桿搖臂傳動機構也正常,基本也可排除運動部件以及運轉工況對排氣溫度的影響。
柴油發動機增壓器的清洗
通過對進氣壓力的檢查,發現比起柴油機說明書規范所對應的值略有降低,清洗了增壓器透平濾網排除了機器處所大氣負壓的原因之后發現進氣壓力沒有改善,為了保險起見,還是對增壓器壓氣機進行清洗,增壓器的清洗步驟如下:
①清洗前,要確認柴油機負荷在75%或以上。
②將專用清洗液倒入注射器A中(如圖3所示)。
③將注射器接口與另一端連接在增壓器進口的注入管相連。
④操作注射器使用其噴射清洗液。
⑤注入清洗液3-5分鐘后,按上述步驟注入等量的淡水,清洗后要在該負荷狀況下運轉1小時以上。

圖3增壓器壓氣機清洗示意圖
通過清洗了增壓器,氣缸排氣溫度有所降低,增壓壓力略有升高,說明壓氣機效率有回升,進氣量增多,柴油機燃燒有所改善,但導致柴油機排氣溫度升高的根本原因并未找到。
燃油噴射系統的介紹及故障處理
因燃油的燃燒情況與燃油噴射系統有極大的關聯,以下首先對燃油噴射系統,燃油噴射設備及燃油噴射規律進行簡介,幫助我們分析排氣溫度過高的故障原因。
柴油機采用的是傳統的柱塞泵式噴射系統,高壓油泵由一個密封式的柱塞筒和穩壓閥組成,并采用柱塞潤滑方式,噴油器的進口管通過鍛鋼制成的燃油噴射體與高壓油泵相連即所謂的泵-管-嘴系統,其系統簡圖如下(圖4)

柴油機噴射系統簡圖
1-凸輪;2-滾輪;3-柱塞;4-出油閥;5-出油閥彈簧;6-高壓油管;7-噴油器彈簧;8-噴油器;9-針閥;10-噴油孔
柴油機工作時,柱塞3由噴油泵凸輪1經滾輪2驅動上下往復運動。凸輪1固定在凸輪軸上,并通過由曲軸帶動凸輪軸傳動機構。凸輪按一定時刻頂動滾輪,從而保證了噴射定時要求。柱塞3上行其上端面封閉孔A時,泵腔中的燃油受到壓縮,當油壓升高到克服彈簧5的彈力和高壓油管中的殘余壓力時,出油閥4開啟,壓力油泵入出油閥空間B,此為供油始點。高壓燃油沿高壓油管6傳遞至噴油器8端空間C,當其油壓大于噴油器彈簧7的預緊力時針閥向上跳起,高壓燃油經噴孔10噴入氣缸。當柱塞3下部的斜槽邊緣開啟油孔A時,泵腔高壓燃油經斜槽回油至進油空間,出油閥相繼落座,此為供油終點。此后當空間C的油壓低于彈簧7預緊力時,針閥落座,噴油結束。柱塞下行時泵腔內為充油過程。在這種系統中,每個柱塞元件對應一個氣缸,小型多缸柴油機所用的柱塞數和氣缸數相等且合為一體,構成組合式噴油泵;對小型單缸機和大型多缸機,常采用每個柱塞元件獨立組成一個噴油器,稱之為單體噴油器。
燃油噴射設備
(1)柴油發動機噴油器的結構及原理介紹
其主要部件有針閥偶件(針閥與針閥體)、調壓裝置及噴油器體。

圖5 噴油器結構示意圖
圖6針閥偶件

針閥偶件(圖6)是噴油器中的精密偶件,其內部有高壓油腔、承壓錐面、密封錐面、噴孔等,它由針閥和針閥體構成,一般采用耐磨性好,韌性好、疲勞強度高以及高溫下有足夠硬度的材料制成(本輪柴油發電機噴油器針閥偶件用優質軸承鋼制造而成)其相互配合的滑動圓柱面間隙僅為0.02-0.04mm,,不同針閥偶件不可互換,配合間隙如果過大會造成噴油壓力下降、噴霧質量變差。間隙過小又會使針閥易卡死。針閥中部的環形錐面(承壓錐面)位于環形油腔中,作用是承受由油壓產生的軸向推力,使針閥上升。針閥下端的錐面(密封錐面)與針閥體相配合,起密封噴油器內腔的作用,密封錐面的密封環帶不宜太寬或太窄,通常以0.3mm-0.5mm為最佳。針閥上部有凸肩,當針閥關閉時,凸肩與噴油器體下端面的距離為針閥的最大升程,升程增大會使針閥落座時撞擊增大,一般為0.4mm-0.5mm,針閥體與噴油器體的結合處有定位銷防止針閥體轉動,以免進油孔錯位。
調壓裝置決定針閥的開啟壓力(噴油壓力),它是由調壓彈簧,調整螺栓,頂桿等構成,可通過調壓螺栓改變噴油壓力。
噴油器體的組成是進油管(帶縫隙式濾清器)回油管接頭、定位銷等組成。當噴油器工作時,來自高壓油泵的高壓燃油經油管接頭進入噴油器體上的進油道,再進入針閥體中部的環形油腔作用在針閥的承壓錐面上,對針閥形成一個向上的軸向推力,此推力一旦大過噴油器調壓彈簧的預緊力時,針閥立即上移,打開噴孔,高壓燃油從噴孔中噴入氣缸霧化,當噴油泵停止供油時,高壓油道內的壓力迅速下降,承壓錐面上的推力不足以克服調壓彈簧的預緊力時,針閥在調壓彈簧的作用下及時復位,將噴孔關閉,停止噴油。
柴油發動機高壓油泵的結構及原理介紹
柱塞偶件是由柱塞和套筒組成,其為一對精密偶件,經配對研磨后不能互換、要求有高的精度、光潔度和耐磨性,柱塞頭部圓柱面上有斜槽,套筒上部有回油孔,因本輪采用的是終點調節式,柱塞頭部上斷面為平面,斜槽在下部,轉動柱塞調節油量時,供油終點不變而始點變化。
調油機構包括調節齒條和調節齒圈,調節齒條有刻度線,指示噴油泵的供油量,每個缸噴油泵的調節齒條與油門拉桿相連接,通過調速器拉動油門拉桿帶動齒條移動使齒圈轉動從而拉動柱塞轉動,讓柱塞上的螺旋槽與柱塞套油孔之間的相對位置發生變化,改變了柱塞的有效行程實現對供油量的調節。
出油閥總成包括出油閥,閥座與出油閥彈簧,出油閥和出油閥座也是一對精密偶件。出油閥在噴油泵停止供油時,泵腔油壓小于出油閥彈簧力與高壓油管殘余油壓之和時被緊壓在閥座上,防止燃油的回流,并保持高壓油管一定的殘余油壓。當柱塞上行壓油時,泵腔油壓大于出油閥彈簧壓力與高壓油管殘余油壓之和后,出油閥離開閥座,打開高壓油路。當柱塞開始回油時,泵腔壓力迅速下降,出油閥下行落座,隔斷高壓油路,這樣,出油閥的卸載容積使高壓油管油壓迅速降低,有助于消除高壓油管剩余壓力過高而引起的重復噴射現象。

圖7高壓油泵結構圖
a-泵體 b-柱塞 c-柱塞偶件 d-挺柱總成 e-止脫銷 f-彈簧承碟 g-彈簧座 h-彈簧 l-調節齒條 j-彈簧座 k-調節齒圈 m-安裝螺栓 n-出油閥總成
柴油發動機高壓油泵的工作原理
柱塞在套筒內由凸輪頂動上下往復運動,當柱塞位于凸輪基圓位置最低時,套筒上部的進油孔開啟,燃油進入泵腔(圖8a所示)。當柱塞上行關閉回油孔后,泵腔燃油受到壓縮,油壓迅速升高,推開出油閥,高壓燃油經出油閥進入高壓油管(圖8b所示)。柱塞繼續上行,當柱塞頭部的斜槽打開回油孔時,柱塞上方的燃油經柱塞頭部的直槽和環形槽與回油孔相通而流回進油空間,出油閥關閉,供油結束(圖8所示)。

圖8柱塞泵工作原理
燃油的霧化
在柴油機中,燃油在高壓下噴入氣缸,并分散成細細小油滴的過程稱燃油的噴霧或霧化。其目的就是要大大增加燃油蒸發的表面積,從而加速燃油的吸熱與氣化過程,進而加速燃油與空氣的混合。例如一臺柴油機全負荷時的循環供油量為130mm3,如果形成1個油滴的話,油滴直徑為3.14mm,表面積為124 mm2,如果將這么多燃油霧化成直徑為24 μm的油滴,那么油滴個數將達到3.1×107個,表面積為3900 mm2,增加約314倍,這就意味著燃油與空氣的接觸面積大大增加了,對混合氣的形成和燃燒十分有利。
柴油發動機噴油器啟閥壓力的檢查
啟閥壓力是噴油器開始噴射時的最低壓力,對霧化質量影響很大,噴油器長期使用后,啟閥壓力可能因調節螺釘松動、彈簧折斷或卡滯、頂桿與針閥磨損或卡滯等原因而變動,我輪發電柴油機噴油器正常啟閥壓力在27.4-29.4Mpa之間,其檢查步驟如下:

圖10噴射試驗步驟
①清除噴嘴頭部的積碳后,將噴油器安裝在噴射試驗裝置上(如圖10)。
②用試驗用的高壓軟管連接噴油器和試驗泵。
③快速的操作試驗泵的杠桿數次,排除空氣直到壓力指針擺動并開始噴油。
④緩慢操作試驗泵杠桿(大約每秒一次),檢查壓力讀數。
柴油發動機密封性的檢查
噴油器密封性檢查包括針閥與針閥體柱面和針閥與閥座兩處密封性檢查。此項檢查也是再噴油器實驗裝置上進行,按啟閥壓力檢查的方法將噴油器置于噴油器試驗裝置上,試驗時噴油油壓控制在稍低或稍高于啟閥壓力,停止泵油后觀察油壓降落速度。我輪發電柴油機噴油器要求泵壓至啟閥壓力在5S內壓力降不大于5 MPa。若此速度大于規范時,說明針閥與針閥體圓柱面間隙大,因密封不良而產生漏油致使壓降較快。在檢查圓柱面面密封性的同時,亦可檢查錐面的密封性,即在上述停止泵油時,若噴孔處只有輕度潮濕而無燃油滴漏為密封性良好。檢查下來發現噴油器密封性良好。
柴油發動機日常維護管理建議
為了及時發現排除柴油機排溫過高的故障,同時使柴油機能可靠運轉,延長其工作壽命,提出以下幾點建議:
①加強對柴油機運轉情況及參數的檢查,要經常巡視,但要注意溫度表、壓力表等儀表會出現顯示不準的情況,所以不能太過于相信儀表讀數并且要周期性的對儀表進行校檢。
②保證燃油、滑油、冷卻水的特性符合柴油機的要求,經常對燃油滑油濾器進行清洗,保證燃油得到合適的預處理(加溫、凈化,最好拋錨時也能保持循環分油)。
③經常對增壓器透平濾網,壓氣端,空冷器等進行清洗。
④除了故障檢修以外,也要按照說明書的要求對柴油機進行周期性的檢查如測量發電柴油機的爆壓、曲軸拐檔差、噴油定時,對噴油器進行試驗等。
